金山云
文档中心
简介
产品描述
用户手册
管理扫描IP
查看扫描报告
常见问题
文档中心
>
下载PDF文档
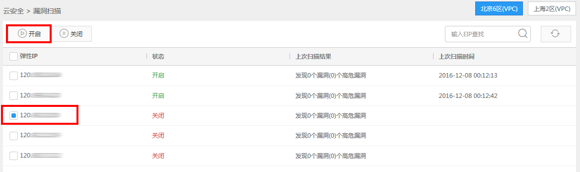
管理扫描IP
开启(关闭)
选择弹性IP,点击上侧的“开启”;
在弹出的确认框总点击“确认”;
注意:同个账号下只可同时开启5个弹性IP的漏洞扫描;
弹性IP的扫描状态显示为“开启”,操作完成;
关闭扫描同理。