1、 创建快照
进入控制台云服务器本地盘管理列表页面,选中一个磁盘,点击创建快照按钮打开创建快照弹窗。创建快照不需要云服务器关机,每个用户可以创建6*(本地盘数量)+6个快照。

输入快照名和描述,点击确认后开始创建快照。

2、 快照回滚
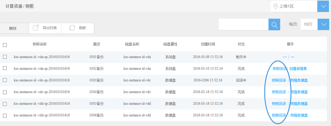
打开云服务器本地盘快照列表,点击相应要快照回滚的“快照回滚”按钮。回滚快照需要先关闭云服务器,云服务器被删除和制作中的快照不可进行快照回滚操作。快照回滚会将原数据盘数据恢复到该快照创建时刻的数据,磁盘原数据会被清除,操作前如有需要请先备份数据。

点击确认按钮开始回滚快照。

3、 克隆数据盘
打开云服务器本地盘快照列表,点击相应要做克隆操作快照的“克隆数据盘”按钮。克隆数据盘使用快照将该快照创建时刻的磁盘数据恢复到其他的磁盘中,磁盘原有数据会被清除,操作前如有需要请先备份数据。

可选择的目标数据盘为容量大于等于源数据盘的目标数据盘,且处于关机状态,目标数据盘支持批量选择。

4、 删除快照
打开云服务器本地盘快照列表,选中要删除的快照点击删除按钮。

点击确定后删除相应的快照。
